| Основные параметры клапанов обратных 1МКО | |||||
| Наименование | Условный проход, мм | Габариты | Ном. давление на входе, МПа | Ном. расход жидкости, л/мин |
Масса, кг |
| 1МКО10/20 | 10 | 78х65х60 | 20 | 40 | 1,2 |
| 1МКО20/20 | 20 | 133х97х75 | 20 | 160 | 3,3 |
| 1МКО32/20 | 32 | 127х127х102 | 20 | 400 | 6,4 |
| 1МКО10/32 | 10 | 78х65х60 | 32 | 40 | 1,2 |
| 1МКО20/32 | 20 | 133х97х75 | 32 | 160 | 3,3 |
| 1МКО32/32 | 32 | 127х127х102 | 32 | 400 | 6,4 |
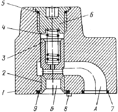
МКО представлен непосредственно клапаном 3 в чугунном корпусе 1, поджатым к седлу 2 пружиной 4 и каналами А и Б.
Направляющие отверстия клапана имеют уплотнения резиновым кольцом 5 и закрывающую пробку 6, стыковая поверхность - резиновыми уплотнительными кольцами 7 и 9.

Клапан в работе
Рабочая жидкость (РЖ), идущая под давлением в канал Б, перетекает в полость А за счет подъема клапана. Смена направления потока РЖ через канал А вызывает перетекание в надклапанную область с прижатием клапана к седлу и перекрыванием проход РЖ в канал Б.
Установка гидроклапана МКО на
- панели,
- промежуточной плите
с винтовым креплением.
Пространственное расположение: любое.
Особенности эксплуатации
Недостаточная чистота РЖ, попадающей под притертые фаски клапана и седла, нарушает герметичность аппарата.
Перед сборкой составляющие следует прoмыть в РЖ.
Габаритно-присоединительные параметры МКО
|
Типоразмер |
D |
d |
d1 |
d2 |
L |
l |
B |
b |
b1 |
H |
h |
h1 |
h2 |
h3 |
h4 |
h5 |
|
1МКО 10/20, 1МКО 10/32 |
22 |
12 |
14 |
11 |
60 |
24 |
65 |
48 |
8,7 |
78 |
60 |
12.7 |
48 |
13 |
- |
8,5 |
|
1МКО 20/20, 1МКО 20/32 |
32 |
19 |
22 |
17 |
75 |
32 |
97 |
65 |
16 |
113 |
81 |
22.3 |
68,3 |
40,5 |
8.5 |
16 |
|
1МКО 32/20, 1МКО 32/32 |
40 |
26 |
30 |
21 |
102 |
43 |
127 |
92 |
18 |
127 |
92 |
20,7 |
72 |
46 |
9,5 |
17,5 |







