Функции управления реле давления ПГ
Золотниковые устройства дистанционно осуществляют путем последовательного включения или выключения отдельных исполнительных органов машины:
- автоматизацию работы станков;
- отвод инструментов при чрезмерном повышении усилия подачи;
- автоматический отвод суппорта при работе по упорам
и др.
Осуществление контроля за давлением в гидросистеме
При перегрузке системы, например, подает электросигнал.
Технические характеристики реле давления ПГ62-11 УХЛ4
- контролируемое давление - от 0,6 до 5 МПа
- нечувствительность - до 0,5 МПа
- утечка рабочей жидкости из внутренних полостей - не более 10 см³/мин
- масса - 3.0 кг
- для работы в умеренном и холодном климате
- категория размещения - 4
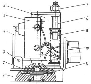
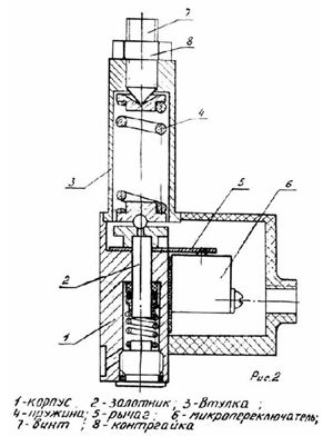
Принцип работы реле давления типа Г62

Состоит из корпуса 1, диафрагмы 2, пружины 3, рычага 4 с осью 5, винта 6, микропереключателя 7 (см. рис. в галерее ниже, где изображения увеличиваются и перелистываются, нужно нажать на стрелку "направо" или "налево").
Рабочая жидкость на контролируемой ветви гидросистемы подводится к отверстию 9.
Если подведенное давление окажется выше установленного настройкой пружины 3, то диафрагма 2 деформируется и передает давление на рычаг 4, который при повороте вокруг оси 5 винтом 6 воздействует на микропереключатель 7.
Регулировка реле давления осуществляется при помощи изменения сжатия пружины 3 винтом 8.
С момента начала деформации диафрагмы 2 до момента срабатывания реле, т.е. до момента включения микропереключателя 7, произойдет увеличение давления, которое характеризует нечувствительность аппарата.
На ваши вопросы ответит онлайн-консультант. Цену можно уточнить по тел. +7 (351) 200-22-88, электронной почте 82002288@mail.ru.
Звоните! Товар в наличии. Доставка до ТК Челябинска бесплатно!