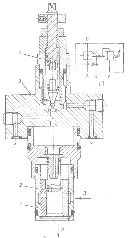
Техническая информация по редукционным клапанам МКРВ 10/3 МР
| Наименование параметра | Величина | ||
| МКРВ-10/3М1 | МКРВ-10/3М2 | МКРВ-10/3М3 | |
|
Условный проход, мм |
10 |
||
|
Давление на входе, МПа: номинальное максимальное |
32 - 35 |
||
|
Диапазон настройки давления (при минимальном расходе), МПа |
0,3 - 10 |
1 - 20 |
1,5 - 31 |
|
Расход рабочей жидкости, л/мин: номинальный |
63 |
||
|
максимальный |
100 |
||
|
минимальный |
0 |
||
|
Максимально допустимый расход через вспмогательный клапан при максимальном перепаде давлений на входе и линии редуцирования, л/мин: |
1,5 |
||
|
Изменение редуцированного давления при изменении расхода от номинального до минимального, МПа, не более |
0,8 |
||
|
Изменение редуцированного давления при изменении давления на входе, МПа, не более |
0,5 |
||







