| Основные параметры клапанов обратных 1МКО |
| Наименование |
Условный проход, мм |
Габариты |
Ном. давление на входе, МПа |
Ном. расход жидкости, л/мин |
Масса, кг |
| 1МКО10/20 |
10 |
78х65х60 |
20 |
40 |
1,2 |
| 1МКО20/20 |
20 |
133х97х75 |
20 |
160 |
3,3 |
| 1МКО32/20 |
32 |
127х127х102 |
20 |
400 |
6,4 |
| 1МКО10/32 |
10 |
78х65х60 |
32 |
40 |
1,2 |
| 1МКО20/32 |
20 |
133х97х75 |
32 |
160 |
3,3 |
| 1МКО32/32 |
32 |
127х127х102 |
32 |
400 |
6,4 |
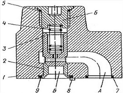
МКО представлен непосредственно клапаном 3 в чугунном корпусе 1, поджатым к седлу 2 пружиной 4 и каналами А и Б.
Направляющие отверстия клапана имеют уплотнения резиновым кольцом 5 и закрывающую пробку 6, стыковая поверхность - резиновыми уплотнительными кольцами 7 и 9.

Клапан в работе
Рабочая жидкость (РЖ), идущая под давлением в канал Б, перетекает в полость А за счет подъема клапана. Смена направления потока РЖ через канал А вызывает перетекание в надклапанную область с прижатием клапана к седлу и перекрыванием проход РЖ в канал Б.
Установка гидроклапана МКО на
- панели,
- промежуточной плите
с винтовым креплением.
Пространственное расположение: любое.
Особенности эксплуатации
Недостаточная чистота РЖ, попадающей под притертые фаски клапана и седла, нарушает герметичность аппарата.
Перед сборкой составляющие следует прoмыть в РЖ.
Габаритно-присоединительные параметры МКО
|
Типоразмер
|
D
|
d
|
d1
|
d2
|
L
|
l
|
B
|
b
|
b1
|
H
|
h
|
h1
|
h2
|
h3
|
h4
|
h5
|
|
1МКО 10/20, 1МКО 10/32
|
22
|
12
|
14
|
11
|
60
|
24
|
65
|
48
|
8,7
|
78
|
60
|
12.7
|
48
|
13
|
-
|
8,5
|
|
1МКО 20/20, 1МКО 20/32
|
32
|
19
|
22
|
17
|
75
|
32
|
97
|
65
|
16
|
113
|
81
|
22.3
|
68,3
|
40,5
|
8.5
|
16
|
|
1МКО 32/20, 1МКО 32/32
|
40
|
26
|
30
|
21
|
102
|
43
|
127
|
92
|
18
|
127
|
92
|
20,7
|
72
|
46
|
9,5
|
17,5
|
Пример условного обозначения
1МКО32/32 УХЛ4
- гидроклапан обратного со стыковым присоединением
- с условным проходом 32 мм,
- с номинальным расходом жидкости 400 литров в минуту,
- с номинальным давлением на входе 32 МПа,
- с внутренними утечками не более 500 см³/мин,
- для районов с умеренным и холодным климатом,
- категория размещения 4.
Цену на обратный клапан уточняйте у консультанта онлайн, по электронной почте 82002288@mail.ru или по тел. +7 (351) 200-22-88.