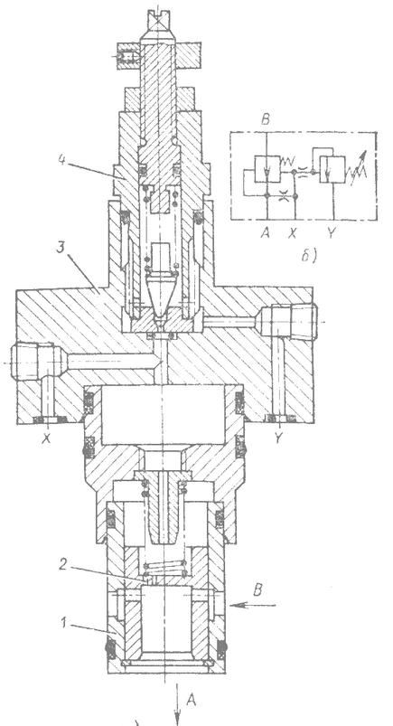
Техническая информация по редукционным клапанам МКРВ 10/3(20/3,32/3)С2
| Наименование | Ду, мм | Номинальное / минимальное давление на входе, МПа | Диапазон регулирования давления, МПа | Номинальный расход, л/мин | Масса, кг |
|
10 |
10,0 / 0,35 |
0,3-12,5 |
80,0 |
3,45 |
|
|
20,0 / 0,55 |
0,5_23,0 |
||||
|
32,0 / 0,85 |
0,8-34,0 |
||||
|
|
|
|
|
|
|
|
МКРВ20/3С2Р1 |
20 |
10,0 / 0,35 |
0,3-12,5 |
160,0 |
4,15 |
|
20,0 / 0,55 |
0,5_23,0 |
||||
|
32,0 / 0,85 |
0,8-34,0 |
||||
|
|
|
|
|
|
|
|
32 |
10,0 / 0,35 |
0,3-12,5 |
320,0 |
5,95 |
|
|
20,0 / 0,55 |
0,5_23,0 |
||||
|
32,0 / 0,85 |
0,8-34,0 |







