ГАРАНТИИ ПРОИЗВОДИТЕЛЕЙ Доставка до ТК - бесплатно! Подбор гидрораспределителя - бесплатно!
2-0200-3К Питатель 2-0200-3К в каталоге смазочного оборудования в наличии в ТД УралГидроМаш с гарантией производителя. Характеристики, цены. Доставка до ТК - бесплатно! 2-0200-3К 2-0200-3К
Поделиться:

2-0200-3К

Питатели двухмагистральные смазочные централизованной смазки предназначены для периодической подачи дозированных порций смазок и масел к трущимся поверхностям при давлении в магистральных линиях до 200 кгс/см 2 (20МПа).

По размерам присоединительных отверстий питатели смазочные изготовляются двух исполнений: с конической трубной резьбой (например, 2-0200-1-К) по ГОСТ 6211-69 и метрической резьбой (без буквы).


Структура обозначений


Пример условного обозначения питателя с номинальной подачей 10 см3/ход, с одним отводом и конической резьбой по ГОСТ 6211-71:
Питатель 2-1000-1-К УХЛ4

То же для стран с тропическим климатом:
Питатель 2-1000-1-К 04.1

Цену уточняйте по номеру телефона
+7 (351) 200-22-88 или оставьте ваши контакты и мы вам перезвоним

Питатель смазочный 2-0200-3К: технические данные

 

Наименование Число отводов, n Давл-е,       мПа >Подача, см3/ход Масса,кг

2-0200-1или(1к)

1

20

2

0,63

2-0200-2или(2К)

2

20

2

1,05

2-0200-3или(3К)

3

20

2

1,46

2-0200-4или(4К)

4

20

2

1,9

2-0500-1или(1К)

1

20

5

1,25

2-0500-2или(2К)

2

20

5

2,25

2-0500-3или(3К)

3

20

5

3,2

2-0500-4или(4К)

4

20

5

4,2

2-1000-1или(1К)

1

20

10

2,3

2-1000-2или(2К)

2

20

10

4,2

2-2500-1или(1К)

1

20

25

4,2

 

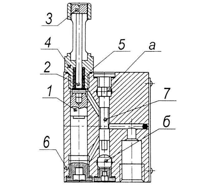
Устройство и работа

Питатель (рис.5) состоит из корпуса 6, поршня 1, шарнирно связанным со штоком 2, распределительного золотника 7, ограничителя 4 с уплотнениями 5, и винта 3. Смазочный материал от станции смазки поочередно поступает или в магистраль (а), при этом магистраль (б) соединена с баком станции (положение 1) или в магистраль (б), при этом магистраль (а) соединена с баком станции.

В положении 1 под действием гидравлического давления в магистрали (а) распределительный золотник 7 перемещается в крайнее нижнее положение до упора и смазочный материал из магистрали (а) поступает в пространство над поршнем 1. Под давлением смазочного материала поршень переместится в крайнее нижнее положение. Смазочный материал, находящийся в пространстве под поршнем, выдавливается в среднюю часть полости золотника 7 и из последней – к точке смазки.

При нагнетании смазочного материала по магистрали (б), положение 2, золотник 7 перемещается в крайнее верхнее положение, а смазочный материал, находящийся в пространстве над золотником, выдавливается в магистраль (а), не находящуюся в данный момент под давлением и соединенную с баком станции. Смазочный материал поступает под поршень 1 и перемещает его в крайнее верхнее положение. Смазочный материал, находящийся в пространстве над поршнем, выдавливается в среднюю часть полости золотника 7 и далее к точке смазки. При помощи винта 3 можно изменять ход поршня 1, то есть регулировать в определенных пределах объем подаваемого смазочного материала.

Остались вопросы? Напишите нам!

Пожалуйста, заполните поля формы,
чтобы наши специалисты могли
связаться с вами

Оставить заявку
Нпл двухпоточные насосы, устройство и принцип работы, проблемы в работе.
Подробнее
Нпл однопоточные устройство и принцип работы
Подробнее
Подача насосов НПл однопоточных - от 5,3 до 110,4 л/мин. Следует отметить малую требовательность к вязкости жидкости в отсутствие высоких скоростей течения.
Подробнее
Используя данный сайт, Вы соглашаетесь с условиями пользовательского соглашения и даёте разрешение на использование файлов куки(cookies).