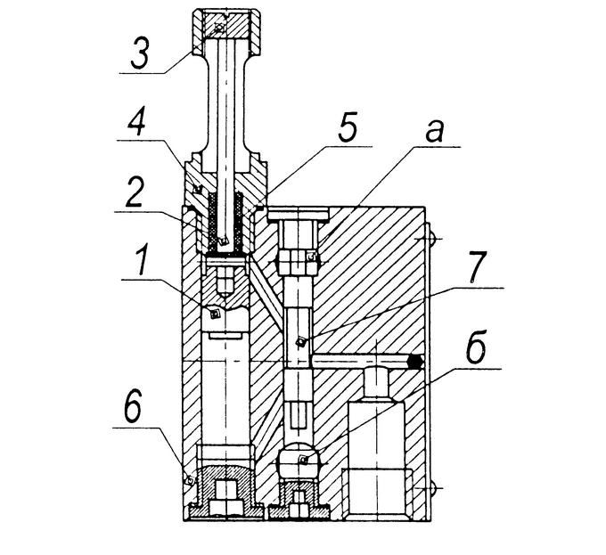
Питатель смазочный 2-1000-1К: технические данные
| Наименование | Число отводов, n | Давл-е, мПа | Подача, см3/ход | Масса,кг |
|
2-0200-1или(1к) |
1 |
20 |
2 |
0,63 |
|
2-0200-2или(2К) |
2 |
20 |
2 |
1,05 |
|
2-0200-3или(3К) |
3 |
20 |
2 |
1,46 |
|
2-0200-4или(4К) |
4 |
20 |
2 |
1,9 |
|
2-0500-1или(1К) |
1 |
20 |
5 |
1,25 |
|
2-0500-2или(2К) |
2 |
20 |
5 |
2,25 |
|
2-0500-3или(3К) |
3 |
20 |
5 |
3,2 |
|
2-0500-4или(4К) |
4 |
20 |
5 |
4,2 |
|
2-1000-1или(1К) |
1 |
20 |
10 |
2,3 |
|
2-1000-2или(2К) |
2 |
20 |
10 |
4,2 |
|
2-2500-1или(1К) |
1 |
20 |
25 |
4,2 |







