ГАРАНТИИ ПРОИЗВОДИТЕЛЕЙ Доставка до ТК - бесплатно! Подбор гидрораспределителя - бесплатно!
Г51-31 Гидроклапан обратный типа Г51-31 в наличии в ТД УралГидроМаш в Челябинске с гарантией производителя. Характеристики, цены. Доставка до ТК - бесплатно! Г51-31 Г51-31
Поделиться:

Г51-31

Обратный клапан гидравлический Г51-31, Г51-36, Г51-35, Г51-34, Г51-33, Г51-32, Г51-37 создан специально для того, чтобы обеспечивать систему односторонним потоком минерального масла в различных гидросистемах машин и оборудования, а также прессов.

Также гидроклапаны данного вида призваны поддерживать давление в сливных конструкция х гидросистемных маслопроводах.

 

Цену уточняйте по номеру телефона
+7 (351) 200-22-88 или оставьте ваши контакты и мы вам перезвоним

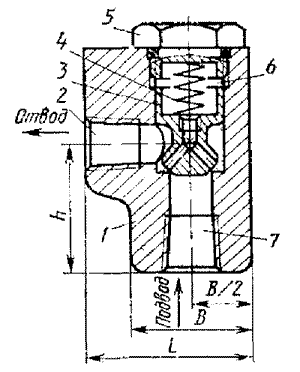
Конструкция клапанов обратных Г51-3

Клапаны типов Г51-3 и ПГ51-2 состоят из корпуса 1, к коническому седлу которого пробкой 5 через пружину 4 прижат плунжер 3. Масло, подводимое в отверстие 7, приподнимает плунжер и проходит в отводное отверстие 2.

При изменении направления течения давление масла в отверстии 2 (и полости 6) вместе с пружиной 4 плотно прижимает плунжер к седлу, исключая возможность обратного потока.

Основные параметры клапанов обратных Г51-3

Наименование Условный проход, мм Присоединение Номинальное давление на входе, МПа Номинальный расход жидкости, л/мин Масса, кг
Г51-31 8 К1/4" 20 16 1,2
Г51-32 10 К3/8" 20 32 1,2
Г51-33 16 К1/2" 20 63 1,6
Г51-34 20 К3/4" 20 125 1,6
Г51-35 32 К1 1/4" 20 250 5,45
Г51-36 40 фланцевое 20 500 14
Г51-37 50 фланцевое 20 800 33

 

Обратные клапаны, особенности

Клапаны обратного типа беспрепятственно пропускают рабочую жидкость в одном направлении, а при обратном движении потока (в противоположном от основного) гидроклапаны Г51-37, Г51-36, Г51-35, Г51-34, Г51-33, Г51-32, Г51-31 запирают поток.


Основное требование к обратным клапанам - это их герметичность. Особенно это касается того периода, когда они находятся в закрытом положении.

Они также должны обладать большим гидравлическим сопротивлением, когда речь идет об открытом положении.

Гидроклапаны представлены в нескольких исполнениях в зависимости от давления открывания в лимите 0,05-0,5 МПа.

Клапаны с давлением, превышающее норму, могут быть использованы в качестве подпорных клапанов.

Обратные управляемые клапаны (гидрозамки) с номинальным сопротивлением созданы для того, чтобы пропускать прямой поток минерального масла, а пропуск противоположного потока возможен только в случае, если принудительно открывается запорный элемент при помощи плунжера, управляемый гидравлически.


По типу присоединения клапаны также могут отличаться исполнением:


Резьбовое присоединение типично для моделей Г51-31, Г51-32, Г51-33, Г51-34, Г51-35
Фланцевое присоединение присуще моделям Г51-36, Г51-37

Остались вопросы? Напишите нам!

Пожалуйста, заполните поля формы,
чтобы наши специалисты могли
связаться с вами

Оставить заявку
Клапаны давления. Определение, классификация, особенности применения.
Подробнее
Особенности применения клапанов давления в станкостроении.
Подробнее
Гидравлическая аппаратура для распределения и управления потоками. Классификация.
Подробнее
Используя данный сайт, Вы соглашаетесь с условиями пользовательского соглашения и даёте разрешение на использование файлов куки(cookies).