Основные параметры клапанов обратных Г51-3
| Наименование | Условный проход, мм | Присоединение | Номинальное давление на входе, МПа | Номинальный расход жидкости, л/мин | Масса, кг |
|---|---|---|---|---|---|
| Г51-31 | 8 | К1/4" | 20 | 16 | 1,2 |
| Г51-32 | 10 | К3/8" | 20 | 32 | 1,2 |
| Г51-33 | 16 | К1/2" | 20 | 63 | 1,6 |
| Г51-34 | 20 | К3/4" | 20 | 125 | 1,6 |
| Г51-35 | 32 | К1 1/4" | 20 | 250 | 5,45 |
| Г51-36 | 40 | фланцевое | 20 | 500 | 14 |
| Г51-37 | 50 | фланцевое | 20 | 800 | 33 |
Конструкция клапанов обратных Г51-3
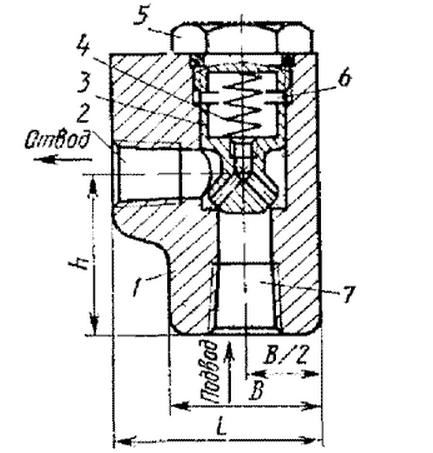
Клапаны типов Г51-3 и ПГ51-2 состоят из корпуса 1, к коническому седлу которого пробкой 5 через пружину 4 прижат плунжер 3. Масло, подводимое в отверстие 7, приподнимает плунжер и проходит в отводное отверстие 2.
При изменении направления течения давление масла в отверстии 2 (и полости 6) вместе с пружиной 4 плотно прижимает плунжер к седлу, исключая возможность обратного потока.
Особенности клапанов обратных Г51-3
Также гидроклапаны данного вида призваны поддерживать давление в сливных конструкция х гидросистемных маслопроводах.
Клапаны обратного типа беспрепятственно пропускают РЖ в одном направлении, а при обратном движении потока ( в противоположном от основного) гидроклапаны Г51-37, Г51-36, Г51-35, Г51-34, Г51-33, Г51-32, Г51-31 запирают поток.
Основное требование к обратным клапанам - это их герметичность. Особенно это касается того периода, когда они находятся в закрытом положении.
Они также должны обладать большим гидравлическим сопротивлением, когда речь идет об открытом положении.
Представлены в нескольких исполнениях в зависимости от давления открывания в лимите 0,05-0,5 МПа.
Клапаны с давлением, превышающее норму, могут быть использованы в качестве подпорных клапанов.
Обратные управляемые клапаны (гидрозамки) с номинальным сопротивлением созданы для того, чтобы пропускать прямой поток минерального масла, а пропуск противоположного потока возможен только в случае, если принудительно открывается запорный элемент при помощи плунжера, управляемый гидравлически.
По типу присоединения клапаны также могут отличаться исполнением:
Резьбовое присоединение типично для моделей Г51-31, Г51-32, Г51-33, Г51-34, Г51-35
Фланцевое присоединение присуще моделям Г51-36, Г51-37







